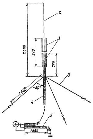
Чертеж антенны | Антенны, Схемотехника, Радио
КВ многодиапазонный диполь для работы на диапаз...
Укв антенна яги своими руками
Двухдиапазонная вертикальная антенна на 10 и 2 ...
КВ Антенны — R3RTambov
The 'wonder-bar' Antenna. Чудо-стержень – компа...
Укороченная рамочная антенна — R3RTambov
Укороченная вертикальная антенна
Укороченная УКВ-антенна - RadioRadar
Укороченная антенна на 160 метров своими руками
Укороченная антенна Inverted V на 3,5 и 7 МГц —...
Низко висящие кв антенны
Антенна уличная логопериодическая алюминиевая D...
Укороченная и полноразмерная антенна на 80м. Ср...
Антенна Windom на диапазоны 40, 20 и 10 метров ...
Укороченная многодиапазонная антенна G7FEK | RU...
Двухэлементная антенна Yagi на 10 МГц — R3RTambov
Вертикальная портативная КВ антенна для 20/40 м...
Коротковолновая антенна Cobweb 7-band паук — R3...
Моксон диапазона 10 метров 28МГц - Антенны КВ -...
Радиолюбительская вертикальная многодиапазонная...
Балконная приёмо-передающая антенна КВ диапазонов
Укороченная антенна граундплэйн - Радио для всех
Диапазонная вертикальная кв антенна
Антенна Yagi beam 10 или 20 м на чердаке — R3RT...
Вертикал для DX-инга - Page 6 - КВ-антенны - QR...
Укороченная антенна на 40 метров
Диполь на 80 – 40 – 20 – 15 – 10 метров — Антен...
The Wonderbar Antenna - 10 Meter Antenna Project
Антенна яги на 10 метров размеры
Антенна укороченная гибкая SF-20
Всеволновая укороченная дельта 10 - 160 м - Ант...
Укороченная вертикальная антенна на диапазон 80...