Пятка колонны что это
Металлические колонны: простые решения сложных ...
Металлические колонны | Изготовление и монтаж м...
Металлические колонны: виды, применение, монтаж...
Столбчатый фундамент под колонну металлическую,...
Металлические колонны - производство и монтаж к...
Монтаж металлических колонн способы
Монтаж металлических колонн - Металлоконструкции
Фундамент под металлическую колонну: Фундамент ...
Подливка под колонны: Пятка колонны. Основные у...
Изготовление металлических колонн на заводе в М...
Проектирование и расчет металлических балок. Пр...
Методы монтажа металлических колонн
Жесткое соединение балки с колонной металл
Изготовление металлических колонн в Липецке на ...
Узел сопряжения металлической колонны и металли...
Металлические колонны - ВЗМК собственное высоко...
Расчет и изготовление металлической колонны в М...
Пятка колонны сверлильного станка НС-12. Посадк...
Усиление металлической обоймой колонн: Усиление...
Купить металлические колонны по цене производит...
Жесткое и шарнирное опирание колонны на фундаме...
Металлические колонны заказать в Москве
Изготовление металлических колонн - Лазерная ре...
Пример ручного расчета металлической колонны
Расчет металлической колонны - Проектирование и...
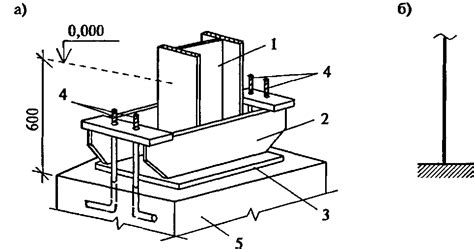
Узел крепления металлической колонны к фундаменту
Монтаж металлической колонны схема
Металлические колонны - Производство и Строител...
Крепление металлической колонны к фундаменту