Порядок выполнения работы
Rotation на шинах: перевод Inside outside, опре...
С Осями Координат - openspecification
27.Каким символом обозначают скорость резания?
Объясните, как определяются координаты точки? -...
Координатна пряма. Координата точки" - YouTube
Преобразование координат из одной зоны в другую...
5. Знайдіть координати точки, яка належить осі ...
5. Координатные плоскости для определения углов...
Координати - Никулец Едукација
Разновидности шин, рисунок протектора
Замітки резина
KoordinatenSystem ausblenden ( Siemens Digital ...
Резина — DRIVE2
УЗБЕКИСТОНДА ЯНГИЛИК ЯНГИЧА РЕЗИНА КОПЛАМА - Yo...
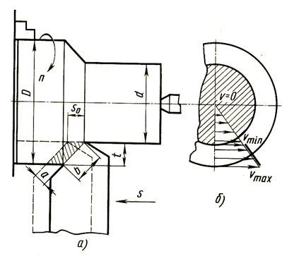
Элементы режимов резания при точении.
Как отличить нарезанную резину - YouTube
coordinates-4-1
Выбираем резину для велосипеда
Резина. Свойства резины - презентация онлайн
Основные координатные плоскости
Лето — Приводим резину в порядок — Volkswagen G...
Координатная плоскость. Ось ординат - online pr...
Резина какая лучше????? - YouTube
Резина для офсетной печати - Полиграф-Клуб
Отметьте на координатной плоскости точки c (1;4...
Преобразование координат методом поворота коорд...
Резина
Элементы теории резания - Машиноведение
- CUT Insight: All about movies
КООРДИНАТЕН СИСТЕМ, КООРДИНАТНА РАМНИНА И КООРД...
Срочно помогите задание -- Знайдіть координати ...
Коротко и понятно про зимнюю резину. Полезно зн...
11. Мощность резания при точении:
Такой закон. Водителям рассказали, до какой дат...