Что такое фазовращатель: Что такое фазовращател...
Фазовращатель - Физическая энциклопедия
Фазовращатели с перекрытием и без перекрытия фа...
Фазовращатели :: Статьи :: Профтемы студенту и ...
Фазовращатель в ДВС. Что это такое и основной п...
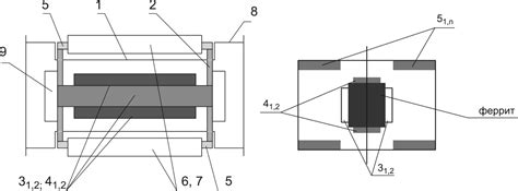
Быстродействующие ферритовые фазовращатели Редж...
ФАЗОВРАЩАТЕЛЬ - это... Что такое ФАЗОВРАЩАТЕЛЬ?
Ферритовые фазовращатели
Принцип работы фазовращателя
Фазовращатель принцип работы
Фазовращатель. Большая российская энциклопедия
Принцип работы фазовращателя антенны
Как работает фазовращатель!? - YouTube
Купить Solaris HC (Солярис НС) в Кирове
Что такое фазовращатель в двигателе - БМВ Масте...
Купить Фазовращатель Hyundai Solaris 2018 24350...
Цифровые фазовращатели с шагом сдвига фаз на 18...
Широкополосные низкочастотные фазовращатели
3. Фазовращатели
ФВ-67-12-У3 Фазовращатель | Цена, купить, описа...
224. Замена насоса ГУРа — Hyundai Solaris (1G),...