Шкив вала отбора мощности Салют/Агат/Фаворит — ...
Шкив редуктора отбора мощности "Торум" 181.05.0...
Шкив вала отбора мощности Салют 5, Агат, Салют ...
Мотоблок DENZEL DPT-670S-PRO, 7 л.с. мощность, ...
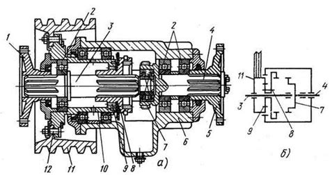
§ 75. Волы отбора мощности и приводной шкив
ШКИВ 84462556 - купить в интернет-магазине zapc...
Шкив вала отбора мощности мотоблока Салют, Агат...
Мотоблок бензиновый Champion BC8723 (7.0 л.с. /...
Шкив: понятие, виды, применение, размеры шкивов
Что такое вал отбора мощности
Шкив 650000002 для мотоблока Салют (вала отбора...
ᐉ Валы отбора мощности, приводной шкив и прицеп...
Механизмы отбора мощности - Назначение, основны...
Мотоблок Denzel DPT-170 56401 - выгодная цена, ...
Коробка отбора мощности схема подключения
Вал отбора мощности, прицепные устройства и при...
Шкив для отбора мощности. - YouTube
Валы отбора мощности и приводной шкив - Техниче...
МИНИТРАКТОР с реверсом. Шкив отбора мощности и ...
Вал отбора мощности МТЗ-82: устройство, принцип...
Купить Шкив одно ручейковый на вал отбора мощно...
Шкив КО-505А.02.00.002 вакуумного насоса (короб...
Установка привода отбора мощности переднего для...
Шкив КО-505А.02.00.002 вакуумного насоса КОМа |...
МИНИТРАКТОР с реверсом. ШКИВ отбора мощности. Н...