Купити оригінальний Гвинт FS 450 у магазині Доб...
Купити оригінальний диск, що обертається FS 450...
FS 450 - FT Farfan Limited
Редуктор для Бензокосы St FS 300, FS 350, FS 38...
Trimmer - STIHL FS 450 | Blinto auktioner
FS 450 stihl
Husqvarna FS 450: prezzo, velocità, scheda e ri...
Trimer STIHL FS 450 | INDEX OGLASI
Stihl FS 450
Купити оригінальний Підшипник FS 450 у магазині...
Купити оригінальний Важіль управління FS 450 у ...
trimer stihl FS 450
Редуктор stihl fs 450 | Сравнить цены и купить ...
FS450
Купити оригінальний Прилегла накладка FS 450 у ...
STIHL FS 450 FS450 Kosa WYKASZARKA Spalinowa Go...
Купити оригінальну Штанга FS 450 у магазині Доб...
Купить оригинальную Шайба FS 450 в магазине Доб...
FS 450-K Редуктор , ремонт, сервисный центр Шти...
Röjsåg - Stihl Fs 450 | Blinto auktioner
FS 450-K Система зажигания - Муфта сцепления , ...
Купити оригінальний Замок FS 450 у магазині Доб...
Stihl FS 450 buskrydder - Renta A/S
Купити оригінальну Пружина FS 450 у магазині До...
FS 450 - Bi. & Ti.
Купити оригінальний Корпус карбюратора FS 450 у...
My 2020 FS450 : r/supermoto
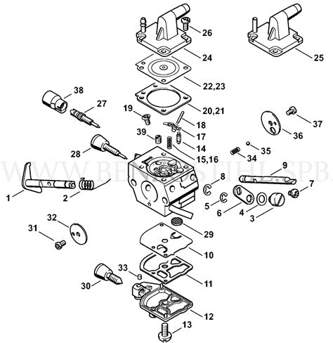
FS 450-L Карбюратор - Корпус карбюратора - Возд...