Росія застосовує модернізовані БРМ-1К в Україні...
Насос топливный ручной подкачки рмн-1К купить в...
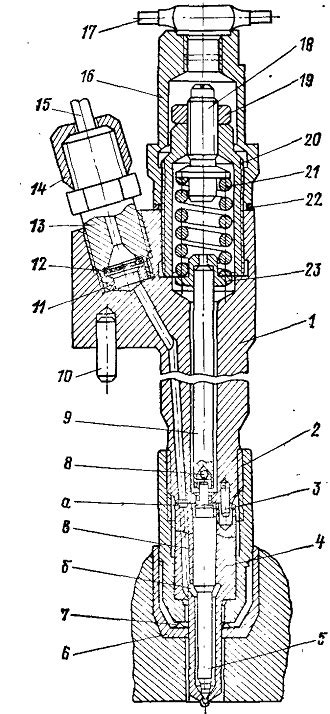
Насос ручной подкачки топлива РНМ-1К К-701,-744...
Насос ручной подкачки топлива РНМ-1 КУ-2 К-700 ...
Р/к РНМ купить в Барнауле | Топливная аппаратура
Ручной топливоподкачивающий насос РНМ-1К
700.11.00.130 ремкомплект РНМ-1К насоса ручной ...
Росіяни почали перетворювати свої розвідувальні...
Партия модернизированных БРМ-1К передана в войс...
Ручной насос РНМ-1К / Данир-Снабжение
Клапан перекрытия диффузора 543-1158390 для МАЗ...
700.11.00.130 насос РНМ-1К ручной подкачки топл...
Насос РНМ-1К ручной подкачки 700.11.00.130 коле...
РНМ-1К Насос ручной перекачки топлива РНМ К700-...
Реле напряжения ПромАвтоматика РНм-1-63t в инте...
Насос топливоподкачивающий рнм-1К ручной 700.11...
Рнм 1 схема подключения - 81 фото
Реле направления мощности
Насос топливный перекачивающий РНМ-1КУ2 универс...
Насос ручной подкачки РНМ-1К 700.11.00.130 | ОО...
Модернизированные БРМ-1К идут в войска
Upgraded BRM-1K go to the troops
Насос паливний ручної підкачки (танковий) РНМ1К...
задонили мне 1к - YouTube
Регулятор напряжения трансформатора микропроцес...
Реквест стрим по Geometry Dash, добиваем мне 1к...
Ручной топливоподкачивающий насос РНМ-1К дизеля...
Минобороны РФ передали партию модернизированных...
Насосы ручной подкачки топлива РНМ-1К в Туле