Маслоприемник для трансформатора тмг
Новое направление – очистка трансформаторного м...
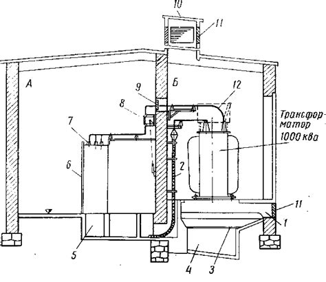
Маслоприемник трансформатора типовой проект - 9...
Масло в трансформаторе зачем: Зачем масло в тра...
Что такое масляный трансформатор и как устроен?...
Масляный трансформатор: устройство, принцип раб...
Расчет емкости маслоприемника для трансформатора
Маслоприемник трансформатора типовой проект - Ф...
Инструкция по отбору проб масла из трансформато...
Поддон-маслоприемник для ТМГ400
27,5-35kV Three-phase oil-immersed power transf...
Можно ли расширитель трансформатора полностью з...
Маслоприемник трансформатора
Чертеж маслоприемника трансформатора - Чертежи,...
Расчет фундамента под трансформатор - фото
Устройство масляного трансформатора: Масляные т...
Закрытые распределительные устройства | Устройс...
Требования противопожарного режима к маслоприем...
Масляные трансформаторы ТМ, ТМГ - ЗАВОД ЭНЕРГОСНАБ
Маслоприемник
С какой периодичностью должна промываться грави...
разобранный трансформатор трансформаторное масл...